歡迎光臨~連雲港連(lián)利福思(sī)特水表有限公司官方網站            English
服務熱線服務熱線:

0518-82344888

您的位置:網站首頁 產品中心 . 小口徑機械水表係列(liè)

小口徑機(jī)械水表係列(liè)

單流束旋翼幹式熱水表(biǎo)CD96TAR(R)-(15~20)E/G

一、概述
此係列水表是(shì)單流旋翼式水表,超級幹式,即幹式表盤,磁力傳動,下磁鋼直接安裝與葉輪上,此葉(yè)輪為唯一浸沒在水中(zhōng)工(gōng)作的可動部件,因此能可靠計(jì)量硬質,帶水垢和懸浮物的水(shuǐ)質,而不至於產生一般結構水表齒輪浸在水中工作而出現加速磨損現象。
*水表的密封計數器處(chù)於真空(kōng)中(zhōng),而防止了霜(shuāng)氣冷凝現象。
*指示機(jī)構可旋轉360°,更方(fāng)便讀數
*防磁結構,不(bú)受外來(lái)磁場幹擾
*如果更換合適的材料,可(kě)以用於90℃以上的熱水中
二、技術特性
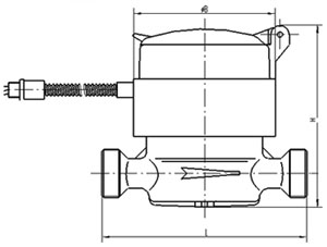
  1、結構外形


注:可根據客戶需求,提供非遠傳

名稱

公稱口徑

過載流(liú)量
Q4

常用(yòng)流量
Q3

分界流量(liàng)
Q2

最小流(liú)量
Q1

最小讀數
Min

最大讀數
Max

L

I

H

B

單位

mm

Inch

m3/h

L/h

L

m3

mm

CD96

15

1/2

3.125

2.5

50

31.3

0.05

99999

110

204

99

74.2

20

3/4

5

4

80

50

130

234

CD97

25

1

7.875

6.3

126

79

160

280

113

94

32

11/4

12.5

10

200

125

160

284

2.流量測量誤差
a.從(cóng)包括最(zuì)小流量(Q1) 至不包括分界流量(Q2)的低區為±5%
b.從包括分界(jiè)流量(Q2)至包括過載流量(Q4)的高區為±3%

3.工(gōng)作壓力與溫度
P≤1.0Mpa   T≤50℃
示值誤差限與流量曲線FLOW-ERROR CURVE     壓力損失曲線 Pressure loss curve

三 、安裝與使用
1、 流量計必(bì)須水(shuǐ)平(píng)安裝,保持殼體上箭頭方向與(yǔ)水流方向相同;
2、 新裝管道務必將管道內的(de)石子、泥沙、麻絲等雜物(wù)衝(chōng)洗幹淨再裝流量(liàng)計,以免造成流量計故障;
3、 流量(liàng)計不應直(zhí)接(jiē)與(yǔ)管道連接,流量計(jì)與管道之間應有管接頭、連接螺母、接管墊圈等附(fù)件。拆裝流量計時,切不可用力硬扳,以免損壞流量(liàng)計;
4、 流(liú)量計長期使用,管道內的雜質、鐵鏽(xiù)等物會堵塞濾網或進(jìn)入表(biǎo)內,造成誤差增加或影響正常運轉,因此每隔一段時間應由專業人(rén)員清洗一次。
四、附(fù)件(jiàn)
  根據客戶需要(yào),每隻流量計可配套
提供管接頭、連接螺母、接管(guǎn)密封墊圈各兩(liǎng)隻。


上一條下一條
掃描(miáo)二維碼關注我們關閉
二維碼
网站地图 www.17c-www17c.com-17.com.羞羞视频-17c.com在线观看完整版免费 网站地图 www.17c-www17c.com-17.com.羞羞视频-17c.com在线观看完整版免费